Accueil > Raccordements > Appui 9 - Appui intermédiaire fourrure supports neufs - tapée 120mm
Appui 9 - Appui intermédiaire fourrure supports neufs - tapée 120mm
Appui intermédiaire thermo-acoustique sur tous types de fourrure pour mur en contre cloison avec tapée de menuiserie de 120 mm.
- Sur tous supports maçonnés
- Rupteur thermo-acoustique
- Repère de tapée sur la tige
- Se clipse sur tous types de fourrures
- Ergonomique et intuitif
- Application sur supports neufs ou en rénovation en contre-cloison sur fourrures 17-47 et 18-45.
Caractéristiques techniques
- Référence
- APPUI9-120
- Performances
-
- Epaisseur de l'isolant : 85 à 100 mm
- Variation de la cloison : 110 à 135 mm
- Tapée standard : 120 mm
- Poids
- 1,88 kg
- Conditionnement
- 50 pièces/ boite
- Composition
- Composite
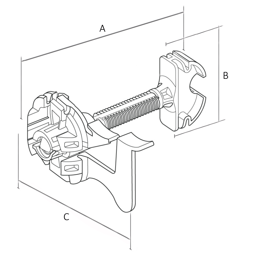
Dimensions

A : 93 mm
B : 45 mm
C : 88 mm
Vidéo
Guide de mise en oeuvre

Appui intermédiaire en neuf ou en rénovation - étape 1
Positionner à l’horizontal une fourrure à 1,35m du sol fini à l’aide de vis adaptées au support. Clipser l’entretoise sur la fourrure.

Appui intermédiaire en neuf ou en rénovation - étape 2
Embrocher la laine. Venir positionner la tête de l’appui sur la tige afin de maintenir la laine en position. Faire coulisser la tête pour ajuster l’épaisseur de la laine.

Appui intermédiaire en neuf ou en rénovation - étape 3
Placer un côté de la fourrure sur l’encoche de l’appui et la rabattre jusqu’au clipsage. Positionner une règle en appui sur la fourrure et régler l’aplomb par pression sur la tête de l’appui. Verrouiller par rotation horaire jusqu’à placer l’appui parallèle à la fourrure.
Documentations
Fiche produit | Télécharger |
Produits complémentaires